米国特許文書に見るPSVRによるルームスケールの可能性
![]() |
米国特許公開US2017/0039959A1「SYSTEM AND METHODS FOR USING MULTIPLE MEMS PROJECTORS TO DETERMINE A POSITION OF A PHOTOSENSOR OF AN HMD OR ANOTHER CONTROLLER」およびUS2017/0038253A1「SYSTEMS AND METHODS FOR USING A MEMS PROJECTOR TO DETERMINE AN ORIENTATION OF A PHOTOSENSOR OF AN HMD OR ANOTHER CONTROLLER」と題された出願文書がそれだが,日本語にするとだいたい「複数のMEMSプロジェクタを利用してHMDないし,その他のコントローラ上の光センサーの位置を決定するためのシステムと手法」「MEMSプロジェクタを利用してHMDないし,その他のコントローラ上の光センサーの向きを決定するためのシステムと手法」のようになる。
MEMSというのはメカニカルな動きをするエレクトロニクスデバイスの総称で,代表的なものにDigital Mirror Device(DMD)があり,DMDの意で使われることが多い。
DMDというのは半導体素子の上に微小な鏡が敷き詰められた素子のことを指す。小さな鏡の一つ一つの角度をコントロールしながら光を反射することができるというデバイスだ。通常は,これで反射光の量を調整して画素の明るさとして表現する。小型プロジェクタでよく使われている技術だ。
ただ,反射光で空間をスキャンして位置測定などを行うシステムでは,HTCが先行している。今回の特許も,大雑把に言ってしまえば,ライトハウスとも呼ばれるViveのベースステーションがガルバノミラーでレーザー光を制御してHMD側の光センサーで位置と角度を測定しているのに対して,同様なシステムをDMDを使って構築する方法についての特許だと思ってよさそうだ。ガルバノミラーは高速回転する多面体の鏡のことで,タイミングを合わせてレーザーを反射させると任意の位置をスキャンできるというもので,レーザープリンタなどで使われている。
![]() |
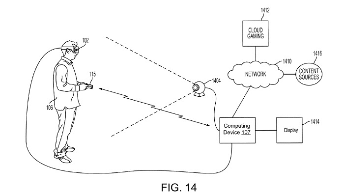
読み進めると前半は,PS4ではなく,別の機器(おそらくはテレビのオプション機器)を使って,VRヘッドセットとスキャンプロジェクタなどの組み合わせでVR体験を実現し,ゲーム自体はクラウドからストリーミングで配信するという構想になっていることが分かる。遅延などを考えると微妙な気はしないではないが。なお,ここで使うVRヘッドセットとコントローラは,PSVRではなく,Viveのように光センサーがあちこちに付けられたものとなる。
![]() |
![]() |
本家GamesIndustry.bizなどではワイヤレスVRの可能性を指摘しているのだが,ざっと見た限りでは映像はどれも基本的にワイヤードで送られているようで,実装の一例としてバッテリーを積んで電源ケーブルをなくすことができるとあった。センサーの情報などもワイヤレスでやり取りするような気配があるのだが,映像ケーブルについてはとくに記述されていない。映像のワイヤレス転送で速いといわれるMiracastでも遅延がないわけではない。Motion to Photonを最小にすることに血道をあげているVRヘッドセット業界を考えると,映像のワイヤレス転送対応機は出てくるとしても,大手メーカーからではないような気はするのだが。
ただ,資料の前半に記述されているような,ストリーミングによるVRゲームシステムの場合,こうなると少々の遅延がどうこうと言っていもしかたないレベルなので,完全ワイヤレス化もアリかもしれない。実際,SIEは「Wireless Head Mounted Display with Differential Rendering and Sound Localization」という特許も出しており,使用図も似ているのでクラウドベースのVRシステムでの一連の特許の流れと思われる。
ルームスケールVRが日本の家庭向きかというと慎重な議論が必要だろうが,HTCとOculusがそちらに舵を切っている以上,SIEとしてもサポートに動くのは不思議ではない。
この技術をPSVRへ応用すること考えると,まず光センサーを搭載したヘッドセットやコントローラが必要になる。しかし,現状のものと置き換えることが必要になったときにユーザーは納得するかというと難しいものがあるような気がする。新型を作るにしても,コストアップとなるのは避けられないのではないだろうか(光センサーのコストだけでなく,ライトハウス2台と対応コントローラなども含む必要アリ)。
となると,この技術は使わず,外部カメラ2台を使って,現在の技術の延長で行うのが妥当ではないだろうか。折衷案としては,この特許資料の前半にあるような簡単な構造の新型を低価格で出しつつ,旧機種にはカメラで対応という展開も不可能ではない。現状のPSVRはよく考えられた構造となっているが,量産に向かないという点が大きな問題となっている。思い切った簡略版を出してくる可能性も否定できないのだが……。
![]() |
![]() |
いずれにしてもこういった特許は,実際の製品とどの程度反映されるかは未知数だ。ソニーはHMDに関してだけでも膨大な特許を持っているが,すべてが製品に反映されるわけでもない。今後,PSVRがルームスケールを志向するとしても,上記のような問題は出てくる。とりあえず手駒の一つではあるだろうが,現状では「こういう技術も研究しています」程度に見ておくのがよさそうだ。





