Business 4Gamer
000
/006
前へ
次へ
000
/006
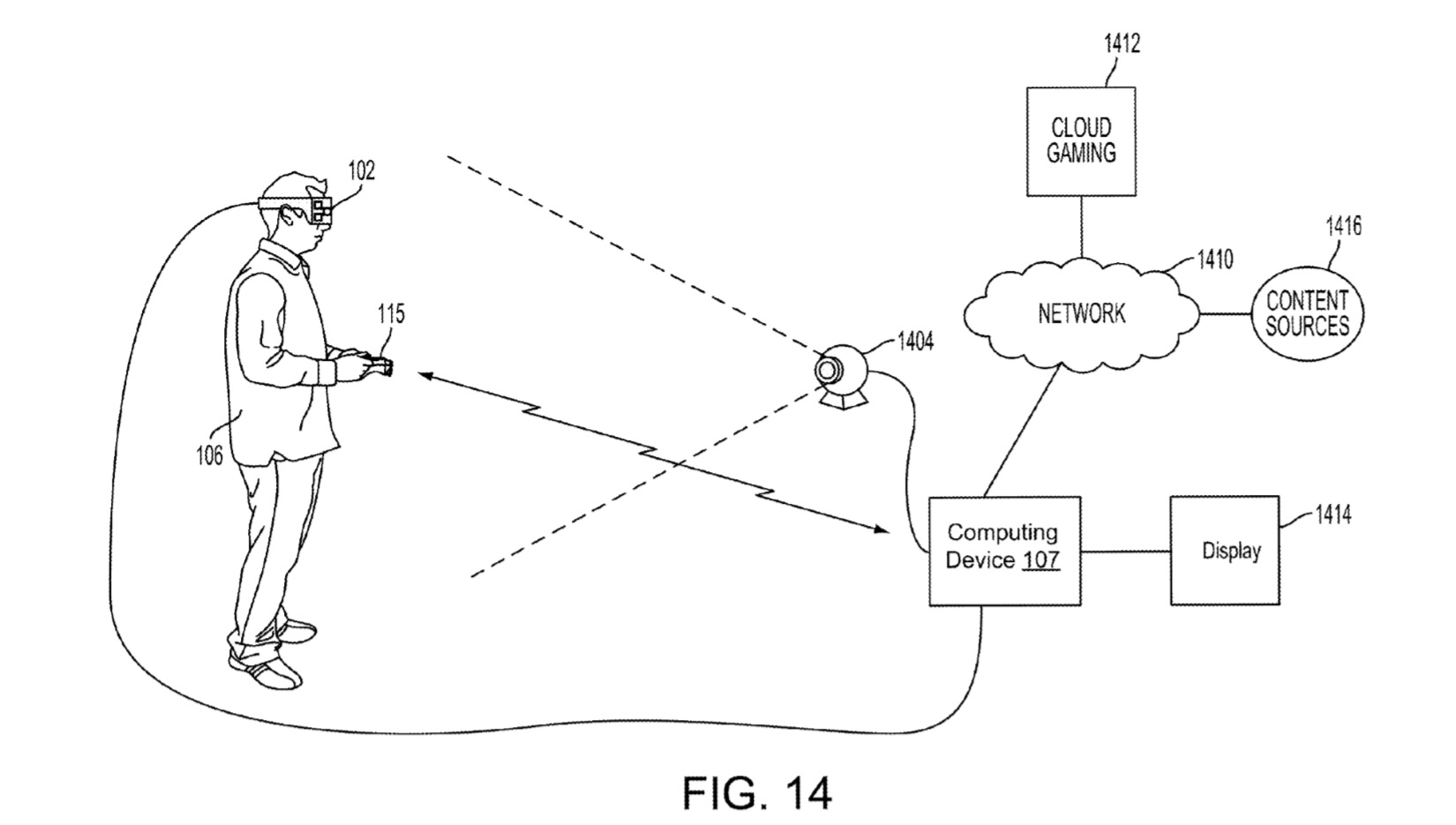
米国特許文書に見るPSVRによるルームスケールの可能性
掲載日:2017/02/16 22:42
このページのURL: